НОВОСТИ    БИБЛИОТЕКА    ССЫЛКИ
КРАТКИЙ ПСИХОЛОГИЧЕСКИЙ СЛОВАРЬ РАЗДЕЛЫ ПСИХОЛОГИИ
КАРТА САЙТА    О САЙТЕ


предыдущая главасодержаниеследующая глава

§ 2. Объяснение переноса с помощью анализа сходства задач

А. Несколько замечаний о сходстве

Как мы только что видели при рассмотрении предыдущих опытов, эффект переноса может проявляться лишь при наличии определенного сходства между ситуациями. Термин "ситуация" включает в себя одновременно и задачу и деятельность, необходимую для ее выполнения.

Вышеприведенные исследования подчеркивают влияние на деятельность испытуемого нахождения и усвоения им установок, средств или принципов выполнения задачи. Однако можно показать также, как сама задача определяет тип деятельности, и исследовать, влечет ли за собой систематическое изменение задачи систематические изменения эффекта переноса.

В этой связи Халл (1943), Мак-Геч и Айрион (1952), Осгуд (1946) пытались установить законы переноса с помощью бихевиористской схемы стимул - реакция. В этом случае деятельность испытуемого сводится к установлению связей между определенными стимулами и соответствующими им ответами. Индивид "выносится за скобки". Такая точка зрения представляется нам оправданной в тех задачах, где существует лишь одна заданная связь; в большинстве же случаев, даже в тех, где задано направление связи, такая позиция оказывается неэффективной из-за вступающих в игру промежуточных ассоциаций, которые зачастую составляют значительную часть деятельности индивида.

Однако анализ задачи в терминах стимула и реакции позволил уточнить роль отдельных элементарных факторов сходства, проявляющихся в относительно простых ассоциативных задачах, соответствующих разнообразным видам человеческой деятельности.

Изучение переноса под таким бихевиористским углом зрения требует установления меры сходства, для того чтобы стало возможным определить степень его.

а) Мера сходства. Нобл (1957) считает, что сходство не поддается измерению. Вся сложность состоит в том, что имеет значение только "психологическое" сходство в том виде, как оно воспринимается индивидом. А последнее не совпадает полностью со сходством физическим. Физическое сходство может быть измерено приборами, и таким образом можно установить степень близости стимулов. Индивид же воспринимает стимулы не как измерительный прибор, и его перцептивная интерпретация тесно связана не только с его способностью к различению, но также с его знаниями, установками и с ситуацией в целом.

Однако можно попытаться определить это сходство операционально, с помощью объективных критериев, как это было предложено Флоресом (1957). Экспериментатор 1) сам классифицирует стимулы по степени сходства, опираясь на их объективные характеристики (наличие общих элементов); 2) просит экспертов со стороны также расклассифицировать эти стимулы; 3) непосредственно опираясь на понимание сходства как тенденции к обобщению (сходные стимулы вызывают одинаковый ответ), исследует, каким образом стимулы, определенные заранее как сходные, распределяются по количеству ответов, идентичных ответу на стимул, данный в качестве эталона сравнения (Гибсон, 1940; Осгуд, 1946).

б) Определение степени сходства в современных исследованиях. Особенно тщательно была исследована роль сходства в заучивании пар элементов по методу антиципации.

Задача состояла в том, чтобы ассоциировать один элемент, называемый "ответом", с другим -"стимулом". В ходе первого опыта предъявлялся стимул, затем соответствующее ему слово-ответ. В последующих опытах испытуемый сам должен был найти слово-ответ на предъявление стимула. Если ему это не удавалось, показывали слово-ответ и т. д.

Эта категория задач включает в себя и сенсомоторное научение, например опыты Дункана (1953) и Ван дер Вельдта (1928). В последнем случае испытуемому предлагалась совокупность возможных моторных ответов, а он должен был установить правильные ассоциации.

Необходимо, однако, отметить, что во всех этих ситуациях, где основная деятельность есть усвоение связей между стимулами и ответами, роль тех и других не эквивалентна. В вербальной ситуации стимулы даны индивиду, ему надо их только узнавать, но не запоминать; ответы же, напротив, следует заучивать. В некоторых сенсомоторных задачах ответы часто бывают заданными и нет необходимости в их запоминании.

Усвоение связей осложняется, таким образом, усвоением набора ответов.

Итак, можно легко представить себе возможные вариации сходства как стимулов, так и ответов и соответствующие основные ситуации переноса. Эти ситуации переноса можно разделить на две категории.

1. Сходство стимулов и ответов. В этом случае связь между первой и второй задачами определяется наличием сходных элементов, ибо связи остаются теми же. Возможны три случая:

идентичные стимулы и сходные ответы в обеих задачах,

сходные стимулы в обеих задачах и идентичные ответы,

стимулы и ответы сходны в обеих задачах, как это показано на схеме Вудвортса и Шлосберга (1954) - см. рис. 12.

Рис. 12. На диаграмме показаны теоретически ожидаемые эффекты переноса, исходя из изменений стимула или ответа (или того и другого одновременно) при переходе от одной задачи к другой, более или менее сходной. S><sub>1</sub> - R<sub>1</sub> в центре соответствует исходной задаче, другие задачи, расположенные на периферии, суть задачи, предъявляемые при вторичном научении. Знак рядом с задачей обозначает ожидаемый эффект переноса. Предполагается, что эффект переноса будет положительным, если задача S<sub>2</sub> - R<sub>1</sub> следует за задачей S<sub>1</sub> - R<sub>1</sub>. и отрицательным, если за S<sub>1</sub> - R<sub>1</sub> будет следовать S<sub>1</sub> - R<sub>2</sub>. Стрелки, соединяющие вторые задачи, указывают направление изменения эффекта переноса в случае сходной задачи, которую теоретически можно разместить между двумя другими (S<sub>1</sub> и S<sub>2</sub> - стимулы, R<sub>1</sub> и R<sub>2</sub> - ответы) (по Вудвортсу и Шлосбергу, 1954, стр. 754)
Рис. 12. На диаграмме показаны теоретически ожидаемые эффекты переноса, исходя из изменений стимула или ответа (или того и другого одновременно) при переходе от одной задачи к другой, более или менее сходной. S1 - R1 в центре соответствует исходной задаче, другие задачи, расположенные на периферии, суть задачи, предъявляемые при вторичном научении. Знак рядом с задачей обозначает ожидаемый эффект переноса. Предполагается, что эффект переноса будет положительным, если задача S2 - R1 следует за задачей S1 - R1. и отрицательным, если за S1 - R1 будет следовать S1 - R2. Стрелки, соединяющие вторые задачи, указывают направление изменения эффекта переноса в случае сходной задачи, которую теоретически можно разместить между двумя другими (S1 и S2 - стимулы, R1 и R2 - ответы) (по Вудвортсу и Шлосбергу, 1954, стр. 754)

2. Если связи между стимулами и ответами остаются идентичными в обеих задачах, возможны два случая:

изменение связей на противоположные - стимулы первой задачи становятся ответами второй, и наоборот;

перестановка связей между стимулами и ответами во второй задаче.

Б. Роль сходства стимулов и ответов в переносе

а) Теории переноса, основанные на таком сходстве. 1. Уайли (1919) различал роль стимулов и ответов в переносе. Согласно этому автору, перенос положителен, когда старый ответ (первая задача) ассоциируется с новым стимулом в опыте на перенос, отрицательный же эффект проявляется при необходимости ассоциировать старый стимул (первая задача) с новым ответом. Такая концепция вытекает из представления о различной роли стимула и ответа.

2. Ссылаясь на павловскую концепцию процесса генерализации, разработанную и систематизированную в дальнейшем Халлом (1939-1943), ряд исследователей пытались объяснить эффект переноса сходством стимулов. Согласно этому принципу, стимул, сходный с уже данным стимулом, вызывает ответ, который был ассоциирован с последним в процессе предварительного научения. Если S ассоциирован с R, a Sa сходен с S, то предъявление Sa вызовет R. Этот процесс генерализации может быть в равной степени применим и к ответу, как мы это уже пытались показать. Усвоение связи S - R предполагает, что если Ra сходен с R, то Ra также может служить ответом. Этот ответ будет тем более вероятным, чем больше сходство между Ra и R. В то время как генерализация стимула достаточно очевидна и легко демонстрируема, генерализация ответа изучена в значительно меньшей степени. Существование ее было показано Андервудом и Хьюгом (1950) в опытах по заучиванию пар из прилагательных и бессмысленных слогов, выступавших в качестве стимулов. Анализ ответов указывает на зависимость степени генерализации от характера сходства прилагательных: синонимия, омонимия, антонимия. Госс (1953), Дункан (1953), Браун, Карке, Штейн (1958) наблюдали аналогичные эффекты в опытах на сенсомоторную координацию. Если считать принцип генерализации одинаково эффективным и в отношении стимулов, и в отношении ответов, то следует ожидать, что положительный перенос будет иметь место во всех ситуациях, где постоянным стимулам соответствуют сходные ответы и, наоборот, где идентичным ответам соответствуют сходные стимулы, при условии, что роль стимула и ответа в образовании этих связей одинакова. Мы уже отмечали, что, как подчеркивал Уайли, это совсем не так.

3. Осгуд (1949) под влиянием исследований последних лет предложил модель, названную им "плоскостью переноса и ретроактивности" и призванную воспроизвести ситуации научения, где изменяется одновременно степень сходства стимулов и ответов (рис. 13).

Рис. 13. Плоскость переноса и ретроактивности Осгуда. Средняя плоскость соответствует нулевому эффекту; ось сходства ответов расположена по длине модели, ось сходства стимулов - по ширине. Вертикальная ось определяет величину и знак переноса (по Осгуду, 1949, стр. 140)
Рис. 13. Плоскость переноса и ретроактивности Осгуда. Средняя плоскость соответствует нулевому эффекту; ось сходства ответов расположена по длине модели, ось сходства стимулов - по ширине. Вертикальная ось определяет величину и знак переноса (по Осгуду, 1949, стр. 140)

Это трехмерная модель: одна из осей представляет степень переноса, другая - степень сходства стимулов и третья - степень сходства ответов. С помощью этой модели легко предсказать эффект переноса: в случае заданного значения стимула достаточно провести плоскость, перпендикулярную оси стимулов, через точку ее, соответствующую этому значению, чтобы определить, как будет изменяться степень переноса по мере изменения сходства ответов.

В отношении крайних ситуаций предполагается, что для стимулов, одинаковых в обеих задачах, перенос должен быть положительным в случае весьма сходных ответов, затем он должен становиться отрицательным по мере уменьшения сходства. В случае различных стимулов перенос должен быть нулевым, когда сами ответы различны.

Рассмотрим теперь, каким образом проверяются эти прогнозы. Отметим, что эта модель не учитывает ни степени ознакомления с подлежащими заучиванию ответами, ни сложности их, ни степени упроченности связи S - R в процессе первичного научения, то есть всех тех факторов, влияние которых в конечном счете неминуемо сказывается в ситуации переноса, поскольку от них зависит степень генерализации. Тем не менее эта попытка формализации представляет безусловный интерес.

б) Два основных опыта, ставящих под сомнение роль сходства. Прежде чем подвергнуть систематическому рассмотрению эти теории, и в частности модель Осгуда, мы дадим описание схем двух основных опытов, на которые мы будем в дальнейшем ссылаться. Речь пойдет об опыте Брюса (1933), который частично послужил отправным пунктом для исследований Осгуда, и об опыте Бугельского и Кадвалладера (1956), целью которых была проверка обоснованности этой модели.

1) Эксперимент Брюса (1933) представляет собой классическую ситуацию переноса в двух последовательных опытах по заучиванию ассоциированных пар слогов. Исследовалось, в какой степени заучивание первого списка влияет на запоминание второго. Эти два списка имеют некоторое сходство. Различные аспекты сходства показаны в левой колонке табл. XI. Как видно из таблицы, Брюс использовал разные комбинации изменений стимула и ответа. Так, например, условие переноса "S1S2 идентичны - R1R2 различны" соответствует заучиванию пар S1R2 в первой задаче и S1R2 - во второй. Таким же образом условие "S1S2 различны - R1R2 идентичны" соответствует парам S1R1 в первой задаче и S2R1 - во второй.

Брюс взял в качестве критериев усвоения при первом заучивании 4 уровня, которые соответствовали числу проб при заучивании первого списка. Нуль обозначал отсутствие предварительной тренировки, то есть испытуемые этой контрольной группы заучивали только второй список: это группа-эталон. Уровни 2, 6, 12 соответствовали экспериментальным группам, сделавшим 2, 6 и 12 проб при заучивании первого списка, предшествовавшего заучиванию второго.

В табл. XI суммированы результаты, дающие представление об изменении степени переноса.

Таблица XI
Таблица XI

В ней представлено соответствующее каждой ситуации отношение (в процентах) числа повторений, потребовавшихся для заучивания второго списка ассоциированных пар, к числу повторений, необходимых для заучивания этого же списка без предварительной тренировки. Положительному переносу соответствуют значения, большие 100, а отрицательному - значения, меньшие 100.

2) В опыте Бугельского и Кадвалладера (1956) было создано 16 ситуаций переноса. Табл. XII показывает различные комбинации систематически изменяемых стимулов и ответов в условиях заучивания ассоциированных пар.

Таблица XII
Таблица XII

В этом опыте стимулы представляли собой фигуры, которые оценивались Гибсон (1941) по степени сходства как одинаковые, сходные, отличающиеся и нейтральные. Ответами служили слова, использовавшиеся Осгудом и делившиеся по степени сходства на сходные, нейтральные, противоположные.

в) Анализ результатов экспериментов и выводы о роли сходства. 1) Различные или сходные стимулы и идентичные ответы в обеих задачах. Все работы подтверждают гипотезу Уайли и модель, предложенную Осгудом. Всякий раз, когда стимулы различны, а ответы в обеих задачах одинаковы, имеет место положительный перенос.

Юм (1931) проверил эту закономерность с помощью двух экспериментов. Задача состояла в заучивании пар ассоциированных элементов. В одном опыте стимулами служили бессмысленные слоги, в другом - рисунки. И в одном и в другом опыте стимулы, использованные во время второго заучивания, имели некоторое сходство со стимулами первого. В обоих опытах ответами при первом и втором заучивании служили одни и те же значащие слова.

Таблица XIII
Таблица XIII

Таким образом, мы видим, что степень припоминания во второй задаче тем выше, чем больше сходство. Значит, имеет место перенос, который изменяется пропорционально сходству задач. Гулликсен (1932) и Гибсон (1941) получили аналогичные результаты, использовав списки слов, ассоциированных с рисунками. Этот же эффект был получен в опыте Брюса - величина его возрастала по мере усвоения первого списка (табл. XI).

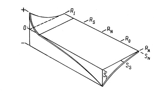
Бугельский и Кадвалладер (1956) получили такой же результат, как показано на рис. 14, который иллюстрирует цифровые данные таблицы XII. Положительный перенос уменьшается с уменьшением степени сходства стимулов, что вполне соответствует модели Осгуда.

Рис. 14. Кривые, соответствующие результатам, полученным Бугельским и Кадвалладером (1956, стр. 362). На оси абсцисс представлены изменения степени сходства ответов во второй задаче: R><sub>1</sub> - ответ идентичен ответу первой задачи; R<sub>S</sub> - ответ сходен; R<sub>N</sub> - ответ индифферентен; R<sub>0</sub> - ответ противоположен. Каждая кривая соответствует изменению эффекта переноса в случае различных ассоциаций стимула, предъявленного во второй задаче, с перечисленными выше вариантами ответов. S<sub>1</sub> - стимул, идентичный стимулу первой задачи; S<sub>S</sub> - сходный стимул; S<sub>SL</sub> - далекий стимул; R<sub>N</sub> - индифферентный стимул
Рис. 14. Кривые, соответствующие результатам, полученным Бугельским и Кадвалладером (1956, стр. 362). На оси абсцисс представлены изменения степени сходства ответов во второй задаче: R1 - ответ идентичен ответу первой задачи; RS - ответ сходен; RN - ответ индифферентен; R0 - ответ противоположен. Каждая кривая соответствует изменению эффекта переноса в случае различных ассоциаций стимула, предъявленного во второй задаче, с перечисленными выше вариантами ответов. S1 - стимул, идентичный стимулу первой задачи; SS - сходный стимул; SSL - далекий стимул; RN - индифферентный стимул

Мы не нашли ни одного сенсомоторного опыта этого типа. Однако, если мы обратимся к примеру с вождением автомобиля, можно утверждать, что эффект переноса будет положительным. Действительно, стимулы на дорогах всегда различны, но более или менее сходны, а ответы (управление рулем и педалями) всегда одни и те же. Проявление здесь эффектов положительного переноса совершенно очевидно.

2) Одинаковые стимулы и различные ответы в двух задачах. Прогноз Уайли (1919) состоит в том, что в этом случае эффект переноса должен быть отрицательным. Модель Осгуда уточняет это утверждение, показывая, что эффект положителен при большом сходстве ответов и становится отрицательным при уменьшении этого сходства (см. рис. 13).

В действительности же результаты экспериментов значительно сложнее, так как они зависят еще и от природы задач. В первую очередь мы рассмотрим результаты, полученные в вербальных экспериментах, а затем результаты, полученные в сенсомоторных опытах.

С одной стороны, в вербальном эксперименте на запоминание Морган и Андервуд (1950) обнаружили нулевой перенос, который становился положительным с возрастанием сходства ответов, в задачах на запоминание 12 пар прилагательных. Согласно Андервуду (1951), облегчение второго заучивания проявляется вопреки увеличению ответов первого списка при заучивании второго. Эти ошибки тем более многочисленны, чем выше степень сходства, и зависят от степени усвоения первого списка.

Портер и Дункан (1953) также против ожидания наблюдали положительный эффект переноса, используя пары прилагательных, и объяснили его не процессом генерализации, а тем, что испытуемые просто усвоили методику. Это наблюдение подтверждают также Мандлер и Хейнеман (1956).

Если мы обратимся к работам Брюса (1933) (табл. XI), мы также обнаружим эффект положительного переноса. Согласно Бугельскому и Кадвалладеру, перенос остается слабым и относительно постоянным независимо от степени сходства. Он будет наибольшим в том случае, если ответ второй задачи является нейтральным по отношению к ответу первой.

Таким образом, проблема еще ждет своего решения; результаты вербальных опытов подтверждают наличие положительного переноса в случае идентичных стимулов и различных ответов и полностью не согласуются с моделью Осгуда.

С другой стороны, в сенсомоторной области работы Ван дер Вельдта (1928) подтверждают отсутствие интерференции в ситуации переноса при обучении ассоциировать различные моторные ответы (нажатие кнопок) со словами-стимулами. Когда первая задача настолько хорошо усвоена, что в момент выполнения второй (с различными ответами) уровень бодрствования или внимания еще высок, интерференция не возникает. Хорошо заученная задача становится слишком специфической: стимулы не только достаточно усвоены сами по себе, но и все детали первой задачи настолько объединены в единое целое,что при выполнении второй задачи не наблюдается появление усвоенных первых связей.

И наоборот, если в момент выполнения второй задачи возникает торможение, тогда имеет место так называемый разрыв целостности первой задачи и один из ее элементов, принадлежащих одновременно и второй задаче, вызывает тот двигательный ответ, с которым он был ранее ассоциирован. Однако Ван дер Вельдт (1928, стр. 332) подчеркивает, что тенденции к движениям, соответствующим первой задаче, чрезвычайно редки. "С другой стороны, мы наблюдали очень четкую градацию частоты тенденций к выполнению усвоенного движения. В тех случаях, когда реакция, ожидаемая в новых опытах, совсем другого порядка по сравнению с уже заученной, например словесная вместо движения руки, практически не наблюдается ни одного случая проявления тенденции произвести движение рукой. Если же, напротив, новый опыт предполагает реакцию в форме движения рукой, то такие тенденции наблюдаются и выражены тем ярче, чем больше новая двигательная реакция приближается к старой".

Этот эксперимент Ван дер Вельдта представляется нам очень интересным, поскольку он подчеркивает, с одной стороны, влияние степени усвоения связей стимулов и ответов и, с другой - большое значение установки, сформировавшейся в процессе специфического научения. Эта установка такова, что элементы первой задачи, будь то стимулы или ответы, играют весьма частную роль и могут быть использованы совсем в другой роли во второй задаче. Последняя требует совершенно иной установки, препятствующей интерференции этих двух ролей одного элемента. Установка приобретает большее значение, чем сходство элементов задачи.

3) Одновременные изменения стимулов и ответов. В данном случае перенос должен быть, видимо, отрицательным.

Результаты Брюса (рис. 14) показывают нулевой перенос практически всегда, когда стимулы и ответы сходны в обеих задачах.

В. Сходство, сопровождающееся изменением связей между стимулами и ответами, и перенос

В опытах, о которых речь пойдет ниже, стимулы и ответы одинаковы, но не одинаковы их связи. Их сходство основывается на идентичности стимулов и ответов в двух последовательных задачах.

а) Изменение порядка связей стимула с ответом. Схематически эти опыты можно представить следующим образом: если Sa, Sb, Sc - стимулы первой задачи, ассоциированные соответственно с ответами Ra, Rb, Rc, то связи второй задачи будут выглядеть, например, следующим образом: Sa->Rc, Sb->Ra, Sc->Rb.

Такая проблема часто возникает в повседневной жизни: если мы изменим принцип классификации, то позиционные признаки перестанут соотноситься прежним образом с классифицируемыми элементами; то же самое произойдет, если мы изменим расположение кнопок на пульте.

A priori, если верна теория идентичных элементов Торндайка, такая ситуация переноса должна повлечь за собой положительный эффект облегчения, поскольку в обеих задачах элементы постоянны. Однако в вербальных и сенсомоторных опытах результаты не одинаковы.

1) Вербальные опыты. Портер и Дункан констатировали отрицательный перенос, сравнив результаты последовательного заучи-чивания двух серий пар прилагательных, связи которых они изменяли при втором заучивании. Чтобы доказать это, они сравнили заучивание второго списка с контрольным, когда со стимулами ассоциировались новые ответы. Мандлер и Хейнеман (1956), изучая это же явление, использовали ассоциацию цифр с группами из трех согласных и наблюдали, напротив, положительный эффект. По-видимому, причина этого заложена в самой природе материала, с которым они имели дело. Мы повторили опыт Портера и Дункана с бессмысленными слогами и также обнаружили положительный перенос.

Он ослабевает, если всех испытуемых и экспериментальной и контрольной групп предварительно знакомят со всеми вариантами ответов. Так, если заучиваемые элементы не известны испытуемому до опыта, имеет место положительный перенос, связанный с тем, что контрольная группа, служащая в качестве эталона, должна заучить не только связи, но также и элементы (ответы) второй задачи. Эта дополнительная трудность в задаче контрольной группы не позволяет путем сравнения выявить отрицательный перенос вследствие изменения порядка связей.

Беш и Рейнолдс (1958) повторили опыт Портера и Дункана, тщательно контролируя эффект включения в работу. В этом опыте три группы испытуемых заучивали список А-В (12 пар прилагательных); затем каждая группа заучивала список, включающий пары трех типов, первый тип - модификации связи A-BR, втоoрой - новые связи (А-С). В обоих случаях стимулы были одни и те же. Третий тип предполагал совсем новые стимулы (D-С). План эксперимента предусматривал уравновешивание всех второстепенных явлений, так как стимулы А основного списка образовывали все возможные связи.

Для всех трех групп испытуемых было установлено, что заучиванию связей А-BR соответствует наименьшее число правильных ответов в течение 6 проб на заучивание.

Таблица XIV
Таблица XIV

Соответствующие стимулы и ответы, взятые из списка Мелтона и Саффье, были, однако, предварительно известны испытуемым. Авторы отмечают, что их опыт ставит заучивание элементов А-BR и А-С в одинаковый, если так можно выразиться, контекст. При заучивании списка А-BR имела место двойная конкуренция на уровне ассоциаций старых ответов со старыми стимулами: с одной стороны, имела место тенденция к проявлению первой установившейся связи, с другой - тенденция, связанная с тем фактом, что старые ответы BR ассоциируются друг с другом, поскольку они являлись частями одного целого при первом заучивании. В этом случае, вероятно, должен иметь место эффект генерализации ответа, который не существует при заучивании списка А-С, чем, видимо, и следует объяснять наличие отрицательного переноса.

Как нам кажется, можно сделать вывод, что изменение связей между стимулами и ответами ведет в случае задач вербального научения к отрицательному переносу.

2) Изменение порядка связей в сенсомоторных опытах. В этой области результаты являются менее ясными и единообразными. Ганье, Бейкер и Форстер (1950) наблюдали отрицательный перенос при изменении порядка связей между двумя стимулами (красным и зеленым) и двумя ответами, состоявшими в нажатии кнопок, правой нулевой. При увеличении сходства стимулов отрицательный перенос^был еще более значителен в связи с явлением генерализации.

Дункан (1953) в более сложном эксперименте получил другой результат. Он пользовался звездчатым различиемером, изображенным на рис. 1 (стр. 144) и позволявшим получить 720 комбинаций связей между стимулами и позициями. Из них было использовано 25. Каждый испытуемый заучивал 6 связей в первой задаче. Во второй их количество варьировалось: 2, 4 или 6.

Если сравнить результаты трех групп во второй задаче с результатами группы, участвовавшей только в первой, мы увидим, что положительный перенос проявляется очень отчетливо и, по всей вероятности, благодаря тому, что испытуемые освоили методику. Если сравнить результаты трех групп между собой, мы увидим, что, чем больше изменяются связи, тем меньше положительный перенос. Изменение связей вызывает различные интерференции, и они тем более многочисленны, чем меньше время первого научения.

Хоти (1953) при помощи устройства, аналогичного тому, которым пользовались Ганье, Бейкер и Форстер (1950), наблюдал положительный перенос; он был больше, когда пространственное расположение кнопок ответов было противоположным расположению стимулов (4 световых стимула были расположены в четырех углах квадрата на вертикальном панно, 4 кнопки ответа расположены точно так же на горизонтальном панно). При ортогональном расположении положительный эффект был меньше. В этом случае четко видно, что сходство в расположении стимулов и ответов вносит дополнительный фактор, не зависящий от природы установленных связей.

б) Антероградные а ретроградные связи и перенос. Иногда важно само направление связи. Так, если ассоциируется стимул 5 с реакцией R, можно считать, что связь устанавливается в направлении S->R; в этом случае говорят об антероградной связи. Можно также считать, что испытуемый связывает R с S, рассматривая предыдущую связь в обратном направлении S<-R, где R становится в результате перестановки ассоциирующимся элементом; даже если при усвоении связи S всегда предшествует R, мы будем говорить в таком случае, что связь S<-R есть ретроградная связь между S и R. При заучивании пары S-R обе эти модальности связи сосуществуют. Одинаково ли влияют они на характер переноса?

Можно задать вопрос, облегчает ли усвоение связи А->В, где А -стимул, а В - ответ, заучивание связи В->х, где В становится ассоциирующимся элементом. Харкум (1953) сравнил число проб, необходимых испытуемым каждой из четырех экспериментальных групп и испытуемым контрольной группы для заучивания нового списка из 8 пар бессмысленных слогов, варианты которого показаны в табл. XV. Критерием усвоения считалось два безошибочных воспроизведения.

Во всех этих ситуациях перенос положителен, за исключением условия СП, где он равен нулю. В этом случае результат согласуется с уже упомянутой закономерностью, что перенос имеет место между двумя ситуациями тогда, когда стимулы одинаковы, а ответы различны. Таким образом, связь В->х вызывает не интерференцию, а лишь незначительное облегчение выполнения задачи, поскольку в этом случае перенос положителен. Он еще более отчетлив в ситуации E II, где стимул превращается в ответ. Это значит, что элемент А был уже частично усвоен. Отсюда можно сделать вывод, что во время первого заучивания связи устанавливаются в двух направлениях А->В и В->А. И тем не менее положительный перенос, наблюдавшийся в условии С I, значительно превосходит перенос во всех других ситуациях. Можно допустить, следовательно, что присутствие во втором заучивании одного из элементов первого заучивания, играющего теперь другую роль, способствует в связи с этим возникновению интерференции. Если бы это было не так, результаты были бы одинаковыми с результатами группы С I.

Таблица XV
Таблица XV

Мёрдок (1958) подтвердил эти данные. Таким образом, в процессе первого заучивания усваиваются и ретроградные связи, которые начинают интерферировать с вновь образуемыми связями. Степень интерференции варьирует в ходе 4 первых проб на заучивание второго списка и достигает максимума, видимо, во время второй пробы.

предыдущая главасодержаниеследующая глава











© PSYCHOLOGYLIB.RU, 2001-2021
При копировании материалов проекта обязательно ставить активную ссылку на страницу источник:
http://psychologylib.ru/ 'Библиотека по психологии'

Рейтинг@Mail.ru

Поможем с курсовой, контрольной, дипломной
1500+ квалифицированных специалистов готовы вам помочь